

作品包括:
说明书一份,共33页,约13000字
CAD版本图纸,共4张
摘 要
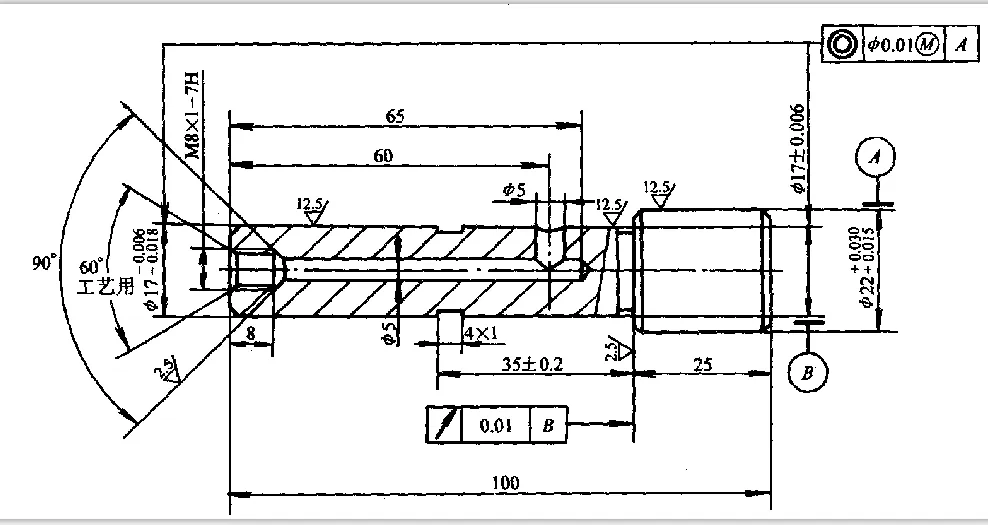
本文是对法兰盘零件加工应用及加工的工艺性分析,主要包括对零件图的分析、毛坯的选择、零件的装夹、工艺路线的制订、刀具的选择、切削用量的确定、加工工艺文件的填写。选择正确的加工方法,设计合理的加工工艺过程。此外还对填料箱盖零件的两道工序的加工设计了专用夹具.
机床夹具的种类很多,其中,使用范围最广的通用夹具,规格尺寸多已标准化,并且有专业的工厂进行生产。而广泛用于批量生产,专为某工件加工工序服务的专用夹具,则需要各制造厂根据工件加工工艺自行设计制造。本论文夹具设计的主要内容是设计钻孔夹具。
关键词:法兰盘,加工工艺,加工方法,工艺文件,夹具
目 录
摘 要 2
ABSTRACT 3
目 录 4
1 绪 论 6
2 零件的分析 5
2.1零件的工艺分析 5
2.2 零件的工艺要求 5
3 工艺规程设计 6
3.1 加工工艺过程 6
3.2确定各表面加工方案 6
3.2.1 考虑因素 7
3.2.2 加工方案的选择 7
3.3 确定定位基准 7
3.3.1粗基准的选择 7
3.3.2精基准选择的原则 8
3.4工艺路线的拟订 8
3.4.1工序的合理组合 8
3.4.2工序的集中与分散 9
3.4.3加工阶段的划分 10
3.4.4加工工艺路线方案的比较 11
3.5零件的偏差,加工余量,工序尺寸及毛坯尺寸的确定 13
3.5.1毛坯的结构工艺要求 13
3.5.2零件的偏差计算 13
3.6确定切削用量及基本工时(机动时间) 14
4 钻6-Φ7孔专用夹具设计 23
4.1问题的指出 23
4.2定位基准的选择 23
4.3夹具方案的设计 23
4.4.切削力和夹紧力计算 24
4.5夹紧力的计算 24
4.6定位误差分析 25
4.7零、部件的设计与选用 26
4.8确定夹具体结构尺寸和总体结构 28
总 结 29
参考文献 31
致谢 32
温馨提示:
1、题目前面的备注【字母数字编号】为本站整理分类的编号,与课题内容无关,请选题时忽视;
2、若题目上备注三维,则表示文件里包含三维源文件,由于三维组成零件数量较多,为保证预览截图的简洁性,本站将三维文件夹进行了打包。三维及CAD预览截图,均为本站电脑打开软件进行截图的,保证能够打开,下载原件超高清,下载后解压即可;
3、本站所有资源如无特殊说明,都需要本地电脑安装Office2007。图纸软件为AutoCAD,PROE,UG,SolidWorks,CATIA等;
4、本站所有图文资料仅供用户学习参考,不作为任何商用或其他用途;
5、本站不保证下载资源的准确性、安全性和完整性, 不包修改,不支持退换,同时也不承担用户因使用这些下载资源对自己和他人造成任何形式的伤害或损失;
6、 下载文件中如有侵权或不适当内容,请与我们联系,我们立即纠正。