N6437-弯板级进模冲压模具设计-长34
N6436-盖帽冲压模具设计-外径42
N6435-铝合金端盖的压铸模具分析和设计
N6433-套筒注塑模具设计
N6432-上铰链固定板落料冲孔模具设计
N6431-上铰链固定板弯曲模设计
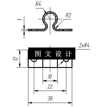
N6430-L形带孔固定卡子级进模冲压设计-长80
N6429-托架落料冲孔及弯曲和翻孔模具设计-长82
N6428-U形垫圈复合模冲压设计-长45
N6427-塑料插座的注塑模具含模流分析【含UG三维图】
N6426-顺装式复合冲裁模模具设计-长64
N6425-储液罐端盖冲压模具设计-长70
N6424-门锁固定架复合模冲压模和弯曲模具的设计-长30
N6423-塑料杯盖注塑模具设计(含模流)【含UG三维图】
N6421-导板冲压复合模设计
N6420-电动机下摆块冲压复合模设计
N6419-支架弯曲压凹模的设计
N6418-端盖防尘帽复合模冲压模具设计-长70
N6417-坩埚盖复合模冲压模具设计
N6416-落料冲孔模具冲压设计